This forum uses cookies
This forum makes use of cookies to store your login information if you are registered, and your last visit if you are not. Cookies are small text documents stored on your computer; the cookies set by this forum can only be used on this website and pose no security risk. Cookies on this forum also track the specific topics you have read and when you last read them. Please confirm whether you accept or reject these cookies being set.

A cookie will be stored in your browser regardless of choice to prevent you being asked this question again. You will be able to change your cookie settings at any time using the link in the footer.

Themabewertung:
  • 1 Bewertung(en) - 5 im Durchschnitt
  • 1
  • 2
  • 3
  • 4
  • 5
Backenfutter != Futterflansch nach Din 6350
firefly-10 Offline
Member
*




Beiträge: 377
Registriert seit: Sep 2013
Bewertung: 10
Adresse: 27xxx

MyBB  Backenfutter != Futterflansch nach Din 6350
Hallo Ihr Lieben,

gestern trudelte endlich mein zukünftiges Weihnachtgeschenk rein. Da ich es unbedingt vorher mal ansehen und testen wollte, wegen den schlechten Erfahrungen mit meinem Herstellermäßigen auf der Drehbank befindlichem klemmenden 3 Backenfutter, packte ich es also mit großer Freude aus.

Zu meinem Verdruss musste ich dann 2 Dinge leider direkt feststellen.

1. Din 6350 ist nicht gleich Din 6350 und
2. man sollte sich nicht immer nur auf Normen verlassen sondern besser selbst genauer hinsehen.

Denn nun habe ich ein Problem. Und ich sage nur, der Futterflansch meiner Drehbank ist exakt identisch mit dem dazugehörigen 3 Backenfutter was dort montiert ist. Aber seht selbst, was passt da leider wohl nicht ?

   

Na den Fehler gefunden ?

Ja genau, das 3 Backenfutter hat 3 Löcher, der Futterflansch hat auch nur 3 Löcher und das neue 4 Backenfutter hat , na klar warum sollte auch mal was direkt funktionieren, natürlich 4 Löcher !

Nun leider folgende Probleme :

1. Diese Planscheibe (4 Backenfutter) von Bernardo gibt’s in der Preisklasse wohl nur mit 4 Löchern, weshalb ein zurückschicken eigentlich vermieden werden sollte. Denn sie gefällt mir echt gut, gute Verarbeitung, leichtgängig und schön schwer.

2. Ein demontieren des Futterflansches traue ich mir nicht zu, da der Futterflansch und die Spindel eine Einheit sind. Das müsste dann danach alles wieder justiert werden. Also wenn wie kann man weitere Löcher im montiertem Zustand passend in den Futterflansch bekommen? Wie muss man das ausmessen ? Was braucht man dafür ? Wie könnte man bohren ?

3. Man könnte noch 2 weitere Löcher in das 4 Backenfutter bohren und Gewinde schneiden (würde ich bevorzugen und auch in Kauf nehmen!). Nur wie kann man mit normalen einfach mitteln die exakte Position der Löcher bestimmen ?

4. Man könnte einen Adapter bauen. Aber aus Ermangelung von passendem Stahl in einer entsprechenden Stärke und vorallem aus fehlender Erfahrung sehe ich da eher auch Schwarz. Vorallem weil die Passgenauigkeit nach Din 6350 ja eingehalten werden muss.

Ich betone nochmals das ich Anfänger bin und erst dabei bin meine Werkstatt aufzurüsten und mich gerade erst mit der Zerspanung vertraut mache.

Gruß

Dirk
18.09.2014, 03:46
Hauptseite Diese Nachricht in einer Antwort zitieren
K E Offline
Member
*




Beiträge: 348
Registriert seit: Apr 2010
Bewertung: 10
Adresse: 07957 Langenwetzendorf

MyBB  RE: Backenfutter != Futterflansch nach Din 6350
Hallo habe erst jetzt ein Futter neue Löcher gebohrt . Aller Dings auf dem Rundtisch hat gut gepaßt . Der Teilkreis der des Futterflansches war fast 1 mm kleiner, als das Futter.

Das Futter mit einem Dorn auf der Bohrmaschine verkehrt herum spannen, so hast Du wenigstens den Teilkreis genau und einem Zentriebohrer an bohren.
Grüße K E
18.09.2014, 07:46
Hauptseite Diese Nachricht in einer Antwort zitieren
mech1 Offline
Spendenmitglied
*****




Beiträge: 607
Registriert seit: Jun 2012
Bewertung: 61
Adresse: Graz 8041

MyBB  RE: Backenfutter != Futterflansch nach Din 6350
Hallo Dirk,

welche Maschinen hast du zur Verfügung?

Gruß
Werner

.
Steel can be any shape you want if you are skilled enough, and any shape but the one you want if you are not. (Robert M. Pirsig)
18.09.2014, 08:29
Hauptseite Diese Nachricht in einer Antwort zitieren
karamo Offline
Spendenmitglied
*****




Beiträge: 2.649
Registriert seit: Dec 2011
Bewertung: 226
Adresse: 3400 Klosterneuburg

MyBB  RE: Backenfutter != Futterflansch nach Din 6350
Hallo Dirk,
dein Thementitel ist vollkommen richtig:
Backenfutter und Futterflansch sind 2 Teile !

(18.09.2014, 03:46)firefly-10 schrieb: 2. Ein demontieren des Futterflansches traue ich mir nicht zu, da der Futterflansch und die Spindel eine Einheit sind.

NEIN, aus meiner Sicht ist das so nicht.
Zumindest bei meiner D240x500.
Siehe hierzu: Beitrag#20

Das Backenfutter+Futterflansch bilden eine Einheit, die man NICHT trennen sollte.

(Backenfutter+Futterflansch) werden IMMER als eine Einheit bei mir auf den Flansch der Spindel montiert/gewechselt.
Ich habe Kurzkegel auf der Spindel.

Ich habe also Backenfutter und dazu passenden Futterflansch gekauft !!!

Der Futterflansch wird im montierten Zustand (auf der Spindel) passend für das Backenfutter (Passung) gedreht, und das Backenfutter dann darauf montiert und in weiterer Folge nicht mehr getrennt!

So habe ich das gemacht und so kenne ich es grundsätzlich überall.


Aber offenbar sieht das bei dir etwas anders aus!?

LG Wolfgang


"Wer lesen kann, ist entscheidend im Vorteil." - Eine unbestreitbare Tatsache Biggrins
18.09.2014, 11:36
Hauptseite Diese Nachricht in einer Antwort zitieren
murxxer Offline
Oller Zausel
*****




Beiträge: 506
Registriert seit: Jul 2008
Bewertung: 13
Adresse: 12101 Berlin

MyBB  RE: Backenfutter != Futterflansch nach Din 6350
Hallo Dirk,
da hätte ich mehrere Lösungen.Entscheidend ist sicher erstmal ob der Lochkreis dem des 3-B-Futters entspricht.
Einen Zirkel wirst Du ja sicher haben.Irgendwie müsstest Du den Teilkreis auf der Rückseite anreissen.Notfalls einen Stopfen mit dem Durchlass des Futters drehen und etwas zentrieren.Von diesem Mittelpunkt den Teilkreis anreissen/markieren.Vorher noch einen Stopfen,Madenschraube mit dem Befestigungsgewinde zentrieren und in ein befestigungsloch einsetzen.Von diesem aus mit dem Radius des Teilkreises den markierten Teilkreis anreissen/markieren,kleinen Körnerpunkt rein und von diesem wieder zum nächsten.Du erhältst so ein 6-Eck in dem die beiden anderen Löcher enthalten sind.Einfach mal auf einem Stück Papier ausprobieren.
   
Wenn Du eine Halterung hättest um eine Bohrmaschine auf den Oberschlitten zu klemmen würde ich meine Methode vorschlagen.
Das 4-B.Futter indas 3-B.Futter spannen,unter eine Backe des 3-B. Futters einen Klotz auf das Drehbankbett setzen,vorher kleinste Drehzahl eingestellt und den Netzstecker gezogen.Dann die Bohrmaschine und das 4-B.Futter so ausrichten dass die Bohrung fluchtet.Dann den Klotz raus und das Futter drehen und den Klotz unter die nächste Backe.Dann Bohren und nochmal das selbe.
Hat bei meinen Futterflanschen immer geklappt.

Jeht nich jibts nich!
18.09.2014, 11:54
Hauptseite Diese Nachricht in einer Antwort zitieren
firefly-10 Offline
Member
*




Beiträge: 377
Registriert seit: Sep 2013
Bewertung: 10
Adresse: 27xxx

MyBB  RE: Backenfutter != Futterflansch nach Din 6350
Hallo Ihr Lieben,

mech1 schrieb:welche Maschinen hast du zur Verfügung?

Nicht viele Werner, nur meine Drehe Holzmann ED400FD, meine kleine Artec C1 Drehe und die MBF Einhell Fräse. Drehtisch und Teilaparat sind (noch) nicht vorhanden. Sollen aber irgendwann einmal kommen. Ansonsten halt alles was ein normaler Handwerker halt hat.

karamo schrieb:
firefly-10 schrieb:2. Ein demontieren des Futterflansches traue ich mir nicht zu, da der Futterflansch und die Spindel eine Einheit sind.
NEIN, aus meiner Sicht ist das so nicht.
Zumindest bei meiner D240x500.
Aber offenbar sieht das bei dir etwas anders aus!?

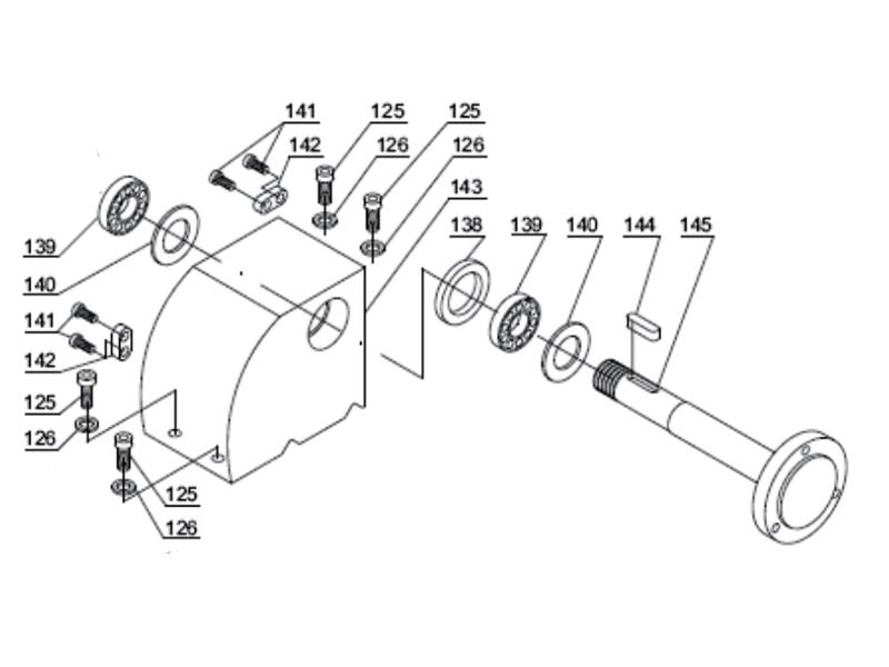
Nicht nur offenbar sondern leider tatsächlich. Komischerweise ist selbst bei meiner alten kleinen C1 der Flansch und Spindel einzeln, aber nicht so bei der Holzmann. Siehe Bild.
   

murxxer schrieb:da hätte ich mehrere Lösungen.Entscheidend ist sicher erstmal ob der Lochkreis dem des 3-B-Futters entspricht.
Sind identisch, habs nachgemessen.

murxxer schrieb:Einen Zirkel.....den Teilkreis auf der Rückseite anreissen........mit dem Radius des Teilkreises den markierten Teilkreis anreissen/markieren..........erhältst so ein 6-Eck in dem die beiden anderen Löcher enthalten sind.Einfach mal auf einem Stück Papier ausprobieren.
Habe ich auf Papier ausprobiert, aber richtig exakt war das bei mir nicht. Denn dann müsste ja der Abstand von einer der neuen Bohrung zu der nächsten neuen Bohrungen bei allen 3 gleich sein, was sie bei mir aber nicht waren. Sprich Zirkel war nicht exakt eingestellt, was mit einer Bleistiftmine auch net so einfach ist. Zwinker

Und wenn ich mich recht entsinne, als ich den Anfang für meine Aufspannscheibe für die C1 macht, müssen die Bohrungen ziemlich exakt sein, sonst kommt man net mit den Schrauben durch den Futteflansch.

murxxer schrieb:Wenn Du eine Halterung hättest um eine Bohrmaschine auf den Oberschlitten zu klemmen würde ich meine Methode vorschlagen.
Für eine Bohrmaschine leider nicht, aber für einen Dremel habe ich eine !

murxxer schrieb:Das 4-B.Futter indas 3-B.Futter spannen,unter eine Backe des 3-B. Futters einen Klotz.......das 4-B.Futter so ausrichten dass die Bohrung fluchtet.......Dann Bohren und nochmal das selbe.
Ok das habe ich verstanden. Benutze also die Backen des 3 Backenfutters als Teilaparat. Mit dem Dremel könnte ich wenigstens dann schonmal passend vorbohren und nachher an der Fräse die Bohrungen vollenden.

Aber wie bekomme ich das 4 Backenfutter in das 3 Backenfutter geklemmt ?

Ich habe mir beide mal genau angesehen. Die Aussenbacken von dem 3 Backenfutter kann ich wohl nicht nehmen, weil die da wohl kaum noch futter von der Schnecke haben um das Futter zu halten.

War es nicht so das man mit einem 100er Futter maximal Teile kleiner 100mm halten kann ?
Klappt das , ist das dann noch stabil genug ?

Und mit den Innenbacken kann ich nirgendwo ansetzten so das ich bspw, das 4B Futter drehen könnte ohne das einer der Backen des 3B Futter den Halt verliert.

Könnte man das so machen, also mit dem Dremel vorbohren als Führungen und dann mit der Fräse /Standbohrmaschine exakt nachbohren ?

Man is das immer ein Mist, warum kann bei mir nicht mal alles ohne Probleme klappen. Ak

Nachtrag : Sagt mal, is sowas hier ein Adapter für mein Problem oder kucke ich falsch ?

Montageflansch für 100er 4 Backenfutter

Gruss

Dirk
19.09.2014, 01:01
Hauptseite Diese Nachricht in einer Antwort zitieren
karamo Offline
Spendenmitglied
*****




Beiträge: 2.649
Registriert seit: Dec 2011
Bewertung: 226
Adresse: 3400 Klosterneuburg

MyBB  RE: Backenfutter != Futterflansch nach Din 6350
Hallo Dirk,
(19.09.2014, 01:01)firefly-10 schrieb: Man is das immer ein Mist, warum kann bei mir nicht mal alles ohne Probleme klappen. Ak

Nachtrag : Sagt mal, is sowas hier ein Adapter für mein Problem oder kucke ich falsch ?
Montageflansch für 100er 4 Backenfutter

1) Nicht böse sein, aber das ist halt so, wenn man kleine Maschinen kauft und sich nicht ALLES vorher genau ansieht bzw. informiert ob das geht was man will. Da ist das auch nicht unbedigt vorgesehen, obwohl ich gesehen habe, dass der Spindelflansch bei ein paar Modellen 3er- UND 4er-Bohrungen aufweist. Halt nicht bei deinem Modell von H.

2) Ja, das ist möglicherweise die Lösung.
Aber warte noch etwas - du brauchst das 4-Backe-Futter ja eh noch nicht SO dringend.
Ich habe wieder mal bei der Fa. Holzmann angerufen und nachgefragt.
Antwort sollte bald kommen.

LG Wolfgang

"Wer lesen kann, ist entscheidend im Vorteil." - Eine unbestreitbare Tatsache Biggrins
19.09.2014, 09:49
Hauptseite Diese Nachricht in einer Antwort zitieren
karamo Offline
Spendenmitglied
*****




Beiträge: 2.649
Registriert seit: Dec 2011
Bewertung: 226
Adresse: 3400 Klosterneuburg

MyBB  RE: Backenfutter != Futterflansch nach Din 6350
Hallo Dirk,
(19.09.2014, 09:49)karamo schrieb: Ich habe wieder mal bei der Fa. Holzmann angerufen und nachgefragt.

1) Ich habe nun die vorläufige Antwort der Fa. H.:
Tja, wie ich bereits geschrieben hatte:
Es ist nicht vorgesehen, eine 4-Backen-Futter montieren zu können.
Es gibt auch kein 4BF und auch keinen Adapter handelsüblich.


2) Sorry, so ist das halt mal.
Musst versuchen, den Flansch von Pauli... zu kaufen und dann schauen, ob du es hinbekommst mit den Befestigungsschrauben.
Das wäre meine Vorgehensweise.

3) Den Spindelflansch mit zusätzlichen Bohrungen zu versehen, das wäre MIR eine zu heikle Tätigkeit. Auch machst du dir damit eine kleine Unwucht in die Spindel.

4) Dem 4BF zusätzlich 3er-Gewindebohrungen zu verpassen, das entspricht auch nicht meinem Geschmack. Kleine Unwucht ist da auch vorprogrammiert, außer du macht 3 völlig getrennte Bohrungen zusätzlich!

LG Wolfgang

"Wer lesen kann, ist entscheidend im Vorteil." - Eine unbestreitbare Tatsache Biggrins
19.09.2014, 10:11
Hauptseite Diese Nachricht in einer Antwort zitieren
mech1 Offline
Spendenmitglied
*****




Beiträge: 607
Registriert seit: Jun 2012
Bewertung: 61
Adresse: Graz 8041

MyBB  RE: Backenfutter != Futterflansch nach Din 6350
Hallo Dirk

(19.09.2014, 01:01)firefly-10 schrieb: Nachtrag : Sagt mal, is sowas hier ein Adapter für mein Problem oder kucke ich falsch ?

Montageflansch für 100er 4 Backenfutter

Der Montageflansch ist höchstwahrscheinlich nach DIN 6351 gefertigt, das bedeutet, dass die Stufe höher ist (die Paulimot, für die der Flansch empfohlen ist, hat zumindest ein DIN6351-Anschluss).

Zwischen deiner Spindel und dem Montageflansch ist halt mehr Luft drinnen --> stört nicht

Wenn das 4BF DIN 6350 ist, könnte es an der vordersten Planfläche des Montageflansches aufliegen anstatt an der Ringfläche, wo die Bohrungen sind. Das wäre kein wirkliches Problem, da du das gleich direkt an der Drehe nacharbeiten kannst. Präzision ist keine gefragt, da es sich ja nur um einen Freistellung handelt.

Gruß
Werner

.
Steel can be any shape you want if you are skilled enough, and any shape but the one you want if you are not. (Robert M. Pirsig)
19.09.2014, 10:21
Hauptseite Diese Nachricht in einer Antwort zitieren
mech1 Offline
Spendenmitglied
*****




Beiträge: 607
Registriert seit: Jun 2012
Bewertung: 61
Adresse: Graz 8041

MyBB  RE: Backenfutter != Futterflansch nach Din 6350
Hallo Dirk

(19.09.2014, 01:01)firefly-10 schrieb:
mech1 schrieb:welche Maschinen hast du zur Verfügung?

Nicht viele Werner, nur meine Drehe Holzmann ED400FD, meine kleine Artec C1 Drehe und die MBF Einhell Fräse. Drehtisch und Teilaparat sind (noch) nicht vorhanden. Sollen aber irgendwann einmal kommen. Ansonsten halt alles was ein normaler Handwerker halt hat.

Falls du doch das Futter mit zusätzlichen Gewinden versehen willst:

- Eine runde Scheibe (ca Ø80; mit einer oder besser zwei Schrauben + Nutensteinen) auf den Frästisch schnallen
- zwei Schrauben (Stiftschrauben) in jeweils gegenüberliegende Gewinde hinten im 4BF einschrauben
- Das 4BF mit den eigenen Backen auf die Scheibe spannen (halbwegs zentrisch) und auf gute axiale Anlage prüfen (soll ja nicht schief stehen)
- eine Leiste an die zwei Schrauben legen, das 4BF leicht von der Scheibe lösen, sodass du es zügig zur Scheibe verdrehen kannst. Damit kannst du das Bohrbild zur Vorschubbewegung ausrichten, indem du einen Puppitast an der Leiste anstellst und mit dem Tisch verfährst.
- 4BF wieder ordentlich festspannen !!!
- Das Zentrum des Futters suchen (ich nehme immer einen Passstift und Farbe (Edding-Marker)). Ob du das am Zentrierbund oder außen am Futterkörper machst, sollte eigentlich für die Gewinde egal sein. Das Spiel in der Vorschubspindeln musst du berücksichtigen.
- zur Sicherheit noch die Position der Gewindebohrung prüfen, die vom 4er-Bohrbild mitgenutzt wird.
- Die Position der beiden neuen Bohrungsmittelpunkte kann man mit den Winkelfunktionen errechnen oder im CAD konstruieren und messen (kann ich bei Bedarf später mit einer Skizze zeigen).
- Du kannst vom 3BF die Abstände der Bohrungsmittelpunkte abmessen und als Kontrollmaß nutzen (bevor du voll reinbohrst natürlich Zwinker)

Um die Unwucht zu minimieren, kannst du in die nicht genutzten Bohrungen Madenschrauben in angepasster Länge einsetzten (dürfen nicht überstehen).

Bevor du beginnst, jedenfalls prüfen, ob im 4BF auch wirklich Platz für die Bohrungen ist, oder ob du z.B. in die Antriebe der Backen bohrst.

Falls die Anleitung unverständlich formuliert ist, bitte schreiben.

Gruß
Werner

P.S.: der Montageflansch ist da sicher einfacher, viel Länge wirst du da auch nicht verlieren.

.
Steel can be any shape you want if you are skilled enough, and any shape but the one you want if you are not. (Robert M. Pirsig)
19.09.2014, 10:49
Hauptseite Diese Nachricht in einer Antwort zitieren


Möglicherweise verwandte Themen…
Thema Verfasser Antworten Ansichten Letzter Beitrag
  Alu-Box nach Plan anfertigen - Laserschneiden, Kanten, Schweißen DrLecter 9 6.917 04.03.2024, 08:59
Letzter Beitrag: miglincit
  Aliexpress liefert seit heute wieder nach Österreich fliegerkind 2 2.931 12.12.2023, 21:07
Letzter Beitrag: fliegerkind
Help Ali Express liefert nicht mehr nach Österreich walter 22 19.808 26.05.2023, 19:07
Letzter Beitrag: walter
MyBB Galvano: Nach verkupferung Oxid entfernen. Joker 7 9.647 17.10.2014, 14:21
Letzter Beitrag: Markus S
412 160mm Backenfutter auf Ø 150mm Rundtisch aufbringen ? 4-ventiler 0 3.833 07.03.2014, 21:59
Letzter Beitrag: 4-ventiler
MyBB 4 Backenfutter Menroth 18 20.911 19.03.2012, 02:40
Letzter Beitrag: Menroth
MyBB Futterflansch für SD 400 reloader 3 5.791 15.05.2010, 21:31
Letzter Beitrag: reloader
MyBB 3 Backenfutter bzw. den Futterflansch ausbauen Xldevil 18 19.417 04.02.2009, 17:12
Letzter Beitrag: Xldevil



Benutzer, die gerade dieses Thema anschauen: 1 Gast/Gäste